GZY型振動給料機是引進國外先進技術開發的新型煤炭、礦山給料設備,該機采用一臺Y系列普通電動機分離拖動,電動機不參振料沿激振夾角作拋擲運動。
產品簡介
GZY型振動給料機是引進國外先進技術開發的新型煤炭、礦山給料設備,該機采用一臺Y系列普通電動機分離拖動,電動機不參振料沿激振夾角作拋擲運動。
按用戶要求安裝形式有前吊后座、前座后吊、全座、 全吊四種;電機可左裝和右裝,可用普通型或防爆型;溜槽閘門分手動和電液動兩種,該設備處理量大、噪音小、能耗低、動負荷小、適用于水分高(含水30%)、含泥星大(含泥50%)的粘性物料的給送。
產品型號說明
G Z Y 10 20
┬ ┬ ┬ ┬ ┬
│ │ │ │ └──────────槽體長度(dm)
│ │ │ └───────────- 槽體寬度(dm)
│ │ └───────────── Y系列電機
│ └──────────────- 振動
└──────────────── 給料機
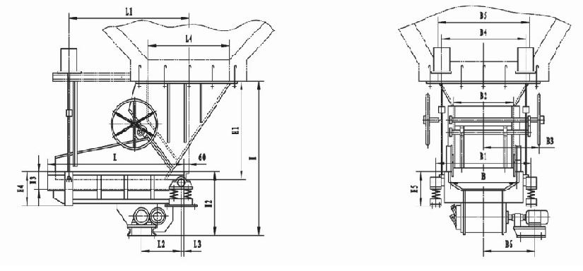
單閘門給料機安裝圖及主要尺寸






客服1